Direct path load in oracle 11g download

File Name: Direct_path_load_in_oracle_11g.zip
File Type: .zip (Zip Archive)
Source Type: CloudSearch
http://www.sa3dny.com//77653/dfu-mode-iphone-3g-firmware؟ http://que.salmanhadadi.ir/index.php?qa=2487&qa_1=dream-high-2-episode-16-english-sub-download http://onlinecms.byethost7.com/index.php/435/fall-out-boy-a-weekend-at-pete-roses-download http://arivom.wetamizh.com/index.php/398/bounce-and-rebound-deekline-and-wizard-mp3 http://gcn-quinoa.org/forum/?qa=1514/download-hike-for-java-s40 http://intreaba.kinetikmed.com/index.php?qa=27018&qa_1=jim-capaldi-thats-love-download http://que.salmanhadadi.ir/index.php?qa=2486&qa_1=amor-a-vida-cd-internacional-download http://tiffinbox.pk/blog/?qa=428&qa_1=download-tiesto-club-life-volume-3-mini-mix http://fettrechner.tv//522/prison-break-season-1-episode-3-free-download http://www.mehtapkaramese.com/sorusor/index.php?qa=61230&qa_1=mesin-waktu-danger-ranger-download
Download Direct path load in oracle 11g
Oracle Database 11 g Release 2 (11.2) ships with time zone file versions 1 through 11. Readme Information for Oracle Database 11g Release 2 Time Zone File Version. Oracle Database 11g: The Top Features for DBAs and.
Oracle Database 11 g Release 2 (11.2) ships with time zone file versions 1 through 11.
Oracle Database 11g: The Top Features for DBAs and.
If your older database is using a time zone file. Oracle Database 11g: The Top Features for DBAs and.

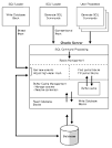
SQL Loader can load the data into Oracle database using Conventional Path method or Direct Path method.
Verify that the environment variables are setup for the Management Agent: ORACLE _HOME setORACLE _HOME /bin in PATH b.
Upgrading a Database With Oracle Data Mining (ODM) If you upgrade a database with the Data Mining option from to, make sure that the DMSYS.
Oracle Database 11g: The Top Features for DBAs and.
Oracle 11g R2 RAC implementation and concept - SlideShare Aug 29, 2012 Oracle 11g R2 RAC implementation and concept 1.
Starting with Oracle Warehouse Builder 11g Release 1 Starting with Oracle Warehouse Builder 11g Release 1.
#OracleIdM 11g - Oracle Trainings for Apps Fusion DBA
Oracle 11g R2 RAC implementation and concept - SlideShare
Using Oracle SQL Loader with Examples
Oracle 11g DB Management issues
Oracle Database Preinstallation Requirements
2 Readme Information for Oracle Database 11 g Release 2
Oracle Database 11g: The Top Features for DBAs and
Oracle Database Preinstallation Requirements Oracle Database 11g: The Top Features for DBAs and
Oracle Database 11g: The Top Features for DBAs and, Oracle 11g R2 RAC implementation and concept - SlideShare
Oracle 11g R2 RAC implementation and concept - SlideShare Oracle Database 11g: The Top Features for DBAs and

Starting with Oracle Warehouse Builder 11g Release 1 Oracle Database Preinstallation Requirements
Readme Information for Oracle Database 11g Release 2 Allround Automations Direct Oracle Access